Oprawa oświetleniowa Orion IP65

Oprawy parkowe na lampy wyładowcze

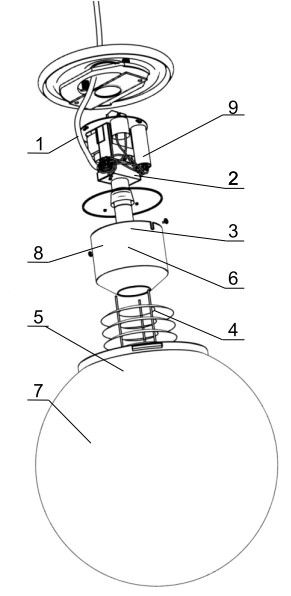
Oprawa składa się z podstawy (1) do której mocowana jest podstawka (9) na której znajduje się aparat zapłonowy (2) i oprawka (3).

Na podstawkę zakłada się obudowę osłaniającą aparat zapłonowy (4). Do obudowy opcjonalnie może być mocowany odbłyśnik (ODB-3) typu RASTER(5).

W oprawce instalowane jest źródło światła (6).

Oprawa zamykana jest kloszem (7) mocowanym w gwincie oprawy, w razie potrzeby zabezpieczany śrubami dociskowymi.

Sposób montażu:

- Do podstawy (1) zamocować aparat zapłonowy(2) i oprawkę(3).

- Wyprowadzić z ramienia i ułożyć w oprawie przewody elektryczne, podłączyć do aparatu zapłonowego(2).

- Założyć i zamocować obudowę aparatu(4) wraz z uszczelką(8).

- Zamocować podstawę(1) do ramienia.

- Zamocować źródło światła(6).

- Zamocować odbłyśnik (ODB-3) typu RASTER(5)

- Zamocować i zabezpieczyć klosz(7). 

W przypadku dostawy skompletowanych lampionów etapy montażu oznaczone *) są pomijane (są zrealizowane już w trakcie prefabrykacji) 

Polecamy również
 Rosa Oprawa parkowa OS-1 klosz przezroczysty / mrożony
Polecamy
Rated 4.3/5 based on 3 customer reviews
od 312,25 zł
 Elektriko Oprawa parkowa led VEGAS E27 220-240V 50-60Hz IP65
Rated 5.0/5 based on 1 customer reviews
934,77 zł
 Glamox Oprawa ogrodowa parkowa E27 GLOBE kula fi 300mm transparentna
Rated 5.0/5 based on 1 customer reviews
118,58 zł
 Elektriko Oprawa B E-27 E/Z
Rated 5.0/5 based on 1 customer reviews
2 268,00 zł
 Elektriko Oprawa oświetleniowa 843W klasyczna
Rated 5.0/5 based on 1 customer reviews
1 303,85 zł
 Elektriko Oprawa oświetleniowa 860 klasyczna
Rated 5.0/5 based on 1 customer reviews
4 108,83 zł
 Elektriko Oprawa oświetleniowa 848W klasyczna
Rated 5.0/5 based on 1 customer reviews
1 418,87 zł
 Elektriko Oprawa oświetleniowa 862 klasyczna
Rated 5.0/5 based on 1 customer reviews
3 018,40 zł
 Elektriko Oprawa oświetleniowa 46S klasyczna
Rated 5.0/5 based on 1 customer reviews
2 256,80 zł
 Elektriko Oprawa oświetleniowa 870 klasyczna
Rated 5.0/5 based on 1 customer reviews
3 567,20 zł
 Elektriko Oprawa oświetleniowa 47S klasyczna
Rated 5.0/5 based on 1 customer reviews
2 256,80 zł
 Elektriko Oprawa oświetleniowa 855 klasyczna
Rated 5.0/5 based on 1 customer reviews
3 276,00 zł
Oprawa oświetleniowa Orion IP65
Rated 5.0/5 based on 1 customer reviews
Lampy parkowe, latarnie, oprawa parkowa / Oprawy parkowe na lampy wyładowcze

Elektriko

Oprawa oświetleniowa Orion IP65
780.44 PLN dostępny
 Elektriko Oprawa oświetleniowa Orion IP65
Nasze osiągnięcia

e-Gazele Biznesu 2016 e-Gazele Biznesu 2020 e-Gazele Biznesu 2022

Wyróżnienia od Euler Hermes
"Złoty Płatnik 2015"
"Złoty Płatnik 2016"
Złoty płatnik 2015 Złoty płatnik 2016 Eksport

Firma Logisoft - właściciel marki Elektriko - prowadzi nieprzerwanie działalność już 20 lat - od 14 sierpnia 2006 roku. Zaufało nam już 27340 firm. W ofercie posiadamy 18 389 produktów.

Plików cookie używamy do spersonalizowania treści i reklam, aby oferować funkcje społecznościowe i analizować ruch w naszej witrynie.Informacje o tym, jak korzystasz z naszej witryny, udostępniamy partnerom społecznościowym, reklamowym i analitycznym.Partnerzy mogą połączyć te informacje z innymi danymi otrzymanymi od Ciebie lub uzyskanymi podczas korzystania z ich usług. Tutaj możesz dokonać szczegółowych ustawień lub cofnąć zgodę. Więcej informacji znajdziesz w naszej polityce prywatności .